Hola! a todos los users taringueros, ya hacía mucho que no posteaba,
Bueno en este post les traigo algunos inventos nuevos del 2011...
Ahi van:
Bueno en este post les traigo algunos inventos nuevos del 2011...
Ahi van:
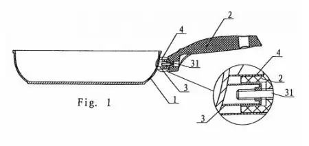
CAJON FLAMENCO PLEGABLE
Para todos apasionados delflamenco, y sobretodo para aquellos que lo practican, hoy tenemos un invento para vosotros.
El cajón flamenco, es un instrumento de percusión utilizado en diversos estilos musicales, especialmente en música flamenca y folklórica andaluza, aunque su aceptación está extendida a diversos estilos musicales, principalmente étnicos y latinos.
Daniel Galiano Pérez, de Sevilla, ha registrado un modelo de utilidad en el que presenta su invento: un cajón flamenco plegable.

El cajón plegable surge de la necesidad del ahorro de espacio; siendo un instrumento delicado, su manipulación y almacenamiento no controlado puede causarle daños (por ejemplo, en compartimentos de equipaje en avión, excediendo su tamaño lo aceptable para equipajes de mano). Y en general, resulta ventajoso reducir su tamaño, sin reducir su utilidad, cuando se procede a su transporte o almacenamiento.

También aparece la dificultad de acceder al interior del cajón flamenco para manipular la bordonera para cuando se desea modificar su sonido, ya que habitualmente en cajones convencionales hay que introducir la mano por un agujero de unas 8 pulgadas hasta llegar al fondo de este y, sin tener acceso visual se manipula la mencionada bordonera con cierta dificultad.
Además, surge el problema de poder practicar con un cajón flamenco sin molestar a terceros, pues al ser un instrumento de percusión, el golpeo de una manera natural y no contenida, como si estuviéramos en su ejecución en directo o en un concierto, crea un sonido fuerte que puede llegar a molestar a vecinos o a las personas con las que se convive.
Para solventar estos problemas, se ha ideado un cajón flamenco plegable, que tiene dos tapas extraíbles una superior y otra inferior, un dispositivo elástico de sujeción vertical y una carcasa rectangular.

La tapas extraíbles, son exactamente iguales, pero montadas una a cada mano, configuradas de forma rectangular disponiendo de un saliente rectangular equivalente a las dimensiones del interior de la carcasa rectangular del cajón flamenco plegable.
Cada una de las tapas extraíbles incorpora en su cara interna y en su centro geométrico un cáncamo destinado para la sujeción y anclaje de un dispositivo elástico de sujeción vertical, que une ambas tapas extraíbles.
El dispositivo elástico de sujeción vertical comprende un tramo de material elástico, dotado en sus extremos de un gancho de anclaje, que permite mantener las tapas extraíbles unidas entre sí, para mantener cerrado el cajón flamenco plegable, tanto por la parte superior como por la parte inferior, pero posibilitando la separación entre ambas al ejercer cierta presión sobre las mismas para cuando se desea plegar el cajón flamenco, sin pérdidas de la calidad instrumental, sonora y durabilidad del mismo, quedando reducido al máximo el espacio tanto como para guardarlo en casa o como para transportarlo.
La carcasa rectangular comprende dos paredes laterales plegables mediante la incorporación de varios tramos de gomas flexibles de unión, que se accionan a modo de fuelle, quedando unidas a un panel frontal y a un panel trasero.
Al quedar la carcasa libre de las tapas extraíbles, se facilita el acceso a la bordonera para poder manipular fácilmente el sonido de la misma, ofreciendo además una posibilidad única en los cajones flamencos, un cajón sordo para poder practicar sin molestar, por el volumen característico que tienen estos instrumentos, introduciendo una esponja de muy poca densidad y de las mismas medidas del cajón, que gracias al diseño de éste permite que se pueda introducir en su interior, y retirarla sin esfuerzo alguno.
El cajón flamenco plegable que se presenta aporta la ventaja sobre los cajones flamencos utilizados actualmente de plegarlo, sin perder calidad instrumental, sonora y durabilidad, gracias a la combinación de unas tapas extraíbles unidas entre sí mediante un dispositivo elástico de sujeción con una carcasa rectangular dotada con paredes laterales plegables, permitiendo una importante reducción del tamaño del cajón, haciendo de él un instrumento cómodo de trasportar y de guardar en casa ya que por sus medidas reducidas ocupa muy poco espacio.
Otra ventaja importante como consecuencia de la anterior es que el cajón flamenco plegable permite de una manera cómoda la manipulación de la bordonera para conseguir un sonido personal, ya que por su diseño, queda descubierta para facilitar su manipulación.
También como ventaja, añadir que el cajón flamenco plegable, ofrece la posibilidad de utilización como un cajón sordo para poder practicar sin molestar por el volumen característico que tienen estos instrumentos, introduciendo una esponja de muy poca densidad y de las mismas medidas del cajón, que gracias al diseño de éste permite su colocación en su interior, y retirarla sin esfuerzo alguno.
Esperamos que os haya gustado este invento para amantes del flamenco. Dejad vuestros comentarios.
PROPIEDAD INTELECTUAL
La propiedad intelectual es un concepto muy amplio, basado en la pertenencia de los derechos de una obra al autor legítimo de la obra.
En España, cuando se habla de propiedad intelectual, se refiere al conjunto de derechos relacionados con los derechos de autor.
Sin embargo, en el resto del mundo, la propiedad intelectual es un concepto mucho más amplio, abarcando el conjunto de propiedad industrial, y a losderechos de autor.
Por lo que tendremos que tener cuidado a la hora de hablar de este conccepto, ya que según a quién nos estemos dirigiendo, entenderá una cosa u otra.

La propiedad intelectual entendida como los derechos de autor, consiste en elderecho del autor sobre todas las acciones derivadas de su obra, es decir, el autor tiene pleno derecho sobre la venta, alquiler, cesión, publicación, etc.. de cualquier parte de su obra (sería el derecho de autor entendido como copyright).
Los derechos de autor pueden proteger obras literarias, letras musicales, el código de programas de software, etc…
El registro de los derechos de autor no es necesario para tener los derechos sobre tu obra, ya que por ley, la obra pertenece al autor. Aunque existen mecanismos en todos los países para que quede constancia de la autoría de la obra.
En definitiva, la propiedad intelectual es un derecho exclusivo, que dura un tiempo determinado (por ejemplo, en España, 70 años después de la muerte del autor. En México, 100 años después de la muerte del autor…), y que otorga el estado al autor, sobre la obra que ha realizado.
Existe otra figura en la propiedad intelectual: El copyright.
La diferencia entre el copyright y el derecho de autor, es que el copyright trata la obra como una mercancía, y por tanto, permite su venta, cesión, etc.. y el segundo reserva los derechos del autor hasta después de la muerte.
Esperamos que os haya resuelto las dudas que podáis tener sobre la propiedad intelectual.
Dejad vuestros comentarios y dudas, y trataremos de resolverlas lo más pronto posible.
PLATO ESPECIAL PARA VIEIRA
Si te gusta el marisco, o tienes pensado viajar a Galicia, debes pensar llevarte este invento contigo, porque te puede ser muy útil, sobretodo si te gustan las vieiras.
La vieira es un marisco famoso en Galicia, y más famoso todavía por ser elsímbolo del Camino de Santiago en todo el mundo.
David Calviño Candal y Raúl Calviño Moreno, han solicitado un modelo de utilidad sobre este invento culinario.

El invento consiste básicamente en un plato, en el que en su zona central, tiene un hueco cuyo contorno es el de una concha de vieira. Además, el plato tiene una configuración cuadrada, en la que los cuatro vértices forman las patas del plato, que sirven de apoyo y separación de la superficie donde se coloque.
El invento consiste en un utensilio totalmente nuevo diseñado para proceder, con la mayor comodidad, a la degustación del contenido de la vieira, ya que es sabido que ésta al colocarla sobre un plato normal, e intentar cortar la parte comestible, se balancea de un lado a otro, haciéndose ésta operación un tanto difícil e incomoda.
El objeto del invento es conseguir una plataforma que evite los anteriores inconvenientes, al definir un perfecto apoyo para las conchas de vieira.
El plato soporte de viera, tiene una configuración externa de cuadrado, del que los vértices forman las patas del mismo, con el fin de que la superficie donde se encuentra el hueco a modo de concha de vieira quede más elevado, para que al introducir la concha no toque la superficie de la mesa.

Otra característica importante del plato soporte de vieira es que, el hecho de que sus patas sigan la línea de una pirámide, nos permite apilarlos unos sobre otros y encajen perfectamente, lo cual nos facilita un buen almacenaje.
REGISTRO DE MARCAS
El registro de marcas es un proceso sencillo, por el que, la oficina de patentes y marcas correspondiente, otorga un derecho de uso exclusivo para utilizar una marca, nombre comercial o signo distintivo.
De esta forma, el que tenga los derechos sobre la marca puede impedir que otros la usen, en la actividad comercial para la que se haya registrado dicha marca.

Para registrar una marca existen varias opciones:
- Dirigirse a la oficina de patentes y marcas uno mismo, y presentar la solicitud de marca, rellenando los formularios correspondientes.
- Solicitar la marca a través de un agente de marcas, que por un módico precio, se encargará de todos los papeleos y gestiones posteriores, incluso de la renovación de la marca, para que no se te olvide y evitar con esto que tu negocio quede desprotegido.
Las marcas pertenecen a diferentes clases, según la actividad de la empresa que va a utilizar dicha marca. Es decir, que si vas a montar un bar, y quieres registrar una marca, tendrás que poner en el registro de marca la clase a la que pertenece.
¿Cómo saber a qué clase pertenece una marca? Hay infinidad de clases y subclases. Para elegir la más adecuada lo mejor es hacer el registro de marcasa través de un agente de marcas, que sabe perfectamente qué clase es la más adecuada.
Os recordamos que, siempre, para realizar cualquier gestión sobre patentes o marcas, lo mejor es dirigirse a los agentes de la propiedad industrial o agentes de marcas. Y recuerda que si no tienes agente de marcas a quien consultar, contacta con nosotros a través de nuestro formulario, o escríbenos a: inventosnuevos@gmail.com y te diremos precio para la gestión que necesites, y te recomendaremos un agente de marcas con mucha experiencia, buen trato, y precio competitivo.
Si has llegado aquí, quizá te interese conocer la oficina española de patentes y marcas: oepm.
OFICINA ESPAÑOLA DE PATENTES Y MARCAS
La oficina española de patentes y marcas (oepm) es la institución española encargada del registro y la concesión de: patentes, modelos de utilidad, diseños industriales, marcas, … y en definitiva del registro de cualquier figura de propiedad industrial, en España.
Los objetivos de la oficina española de patentes y marcas son:
- Proteger y fomentar la innovación en España, así como la identidad de las empresas, a través de los títulos de propiedad industrial (patentes, marcas, …).
- La oficina española también trata de transmitir información, a partir de las publicaciones de patentes, o de títulos de marcas.
- Favorecer el intercambio de bienes y servicios en España.

La oficina española de patentes y marcas nace en el año 1824, bajo el nombre “Real conservatorio de artes y oficios”, y hasta hoy ha pasado por varias sedes de la oficina, hasta instalarse definitivamente en las oficinas de Nuevos Ministerios, en Madrid.
En España, la oepm, por la ley de patentes, permite que cualquier persona pueda ir a la oficina de patentes a registrar su patente, sin necesidad de solicitar los servicios de un agente de la propiedad industrial (aunque siempre sea aconsejable que se encargue un agente).
El edificio de la oficina de patentes consta de muchas plantas, pero la planta que más usarán los agentes de patentes, será la planta primera de la oepm, donde se realizan los depósitos de las solicitudes de patente, y se realizan los pagos, etc…
Para acceder a más información sobre la oficina, visita su web: www.oepm.es
CUCHILLO ESPECIAL PARA SANDIA
Hoy os dejamos un invento especial para el verano, se trata de un cuchillo, que por su forma y flexibilidad, está especialmente indicado para disfrutar de la sandía y el melón.
Se trata de un modelo de utilidad inventado y registrado por la empresa checa “Tescoma“.
El cuchillo para sandía, sobre todo para cortar la pulpa de la misma, está fabricado completamente de plástico resistente, conveniente también para el fregado en el lavavajillas.

El cuchillo está fabricado como una pieza fundida de plástico, y se compone del mango de plástico con un orificio para colgar el cuchillo.
El mango continúa con una hoja flexible doblada, con un lado provisto del filo formado por dientes. El doblado de la hoja flexible puede dirigirse al lado izquierdo o derecho del eje del mango.
La hoja flexible doblada de plástico tiene la forma cónica que se amplía desde el filo de la hoja hacia la parte superior. La anchura de la parte superior es más pequeña junto al redondeado, ampliándose hacia el mango, con lo cual, sobre todo en la parte de longitud de unos 4 – 5 cm que continúa en la parte superior del mango, dando un apoyo suficiente para la presión del corte de la pulpa de la sandía.
La parte terminal de la hoja flexible está redondeada, asegurando una mayor seguridad durante el uso del cuchillo, por ejemplo, por niños o personas con una capacidad reducida de la distinción.
La sandía se corta en lascas cónicas y la pulpa se corta mediante movimientos fluidos entre la cáscara y la pulpa.
La ventaja del cuchillo para sandía es que se trata de una solución fácil y segura de la separación de la pulpa y la cáscara, conveniente para sandías, melones, galia, cantaloupe, etc.
Otra ventaja es su sencillez, rapidez al cortar la pulpa de la sandía, facilidad del almacenaje, posibilidad de fregar y la seguridad de su uso también para niños o personas con una capacidad reducida de la distinción, pues no hay peligro de una lesión. Otra ventaja son los bajos costos de la fabricación.
LA OLLA CAMALEON
Hoy os presentamos un invento excelente para cocinar. Este invento consiste en una olla que puede cambiar de color según la temperatura de la olla. De esta forma, evitamos quemaduras al tocar la olla cuando aún está caliente.
La empresa inventora de esta patente es una empresa China, llamada ZHEJIANG AISHIDA ELECTRIC, y curiosamente sólo han presentado esta patente en España. Por lo que, si no han presentado más patentes (esto no se sabrá hasta unos meses más adelante), en el resto de países sería un invento libre de patentes.

La olla tradicional no tiene la función sensible a la temperatura, sólo funciona gracias a la experiencia del usuario, para la mayoría de los usuarios es difícil saber la temperatura de cocción. Para que los usuarios sepan de manera más exacta la temperatura de cocción, existen en el mercado diferentes ollas con dispositivos sensibles a la temperatura, pero con estructuras complicadas, cuya susceptibilidad a la temperatura no es buena.
Esta patente describe una olla con una función de percepción de temperatura, a través del componente sensible a la temperatura instalado en ella, la cual esta compuesta por el cuerpo de olla y el asa, cuyas características son: el componente sensible a la temperatura es de metal, la superficie exterior del componente sensible a la temperatura antes mencionado, esta cubierto por una capa termo sensible la cual puede cambiar su color cuando su temperatura cambia.
La buena conductividad térmica del componente consigue un buen efecto de sensibilidad a la temperatura. El color de la capa termo sensible indica al usuario el mejor momento para su uso, advirtiendo al usuario del peligro de sufrir quemaduras, al mismo tiempo el componente sensible a la temperatura puede ser también usado para evitar que el recipiente produzca humo, ya que usuario deberá esperar a verter agua fría en el recipiente hasta que el color del componente sensible a la temperatura vuelva a su color inicial y de esa manera se alarga la vida útil del recipiente.
La estructura de la olla puede ser dividida en los siguientes cuatro tipos de acuerdo con los componentes específicos sensibles a la temperatura:
1) El componente sensible a la temperatura se refiere a una funda sensible a la temperatura, que esta conectada por una de sus extremos a la pared exterior del cuerpo de la olla, y reviste la unión de la olla con su asa la cual esta hecha de baquelita. La superficie exterior de la funda esta revestida por una capa termo sensible que puede cambiar su color con la temperatura.
2) Una funda de metal con un orificio de observación colocado sobre la unión entre la olla y su asa la cual esta hecha de baquelita, el componente sensible a la temperatura antes mencionado se refiere a una lámina termina que esta debajo del orificio de observación y encajonado entre la funda de metal y el asa. El extremo de la parte interior de la funda metálica esta directamente conectado con la olla, y la temperatura de esta es transmitida a la lámina térmica a través de funda metálica; existen uno o dos bultos en el fondo de la lámina térmica para colocarla sobre el asa (mejor dos bultos). La superficie exterior del componente sensible a la temperatura es revestida por una lámina termo sensible la cual puede cambiar de color con su temperatura. El color de la capa termo sensible indica al usuario el mejor momento para su uso.
3) El componente sensible a la temperatura antes mencionado puede ser también aplicado a la unión entre la olla y su asa, la cual esta hecha de baquelita, estando la superficie exterior de la unión revestida con una lámina termo sensible la cual puede cambiar de color con su temperatura.
4) El componente sensible a la temperatura antes mencionado se refiere auna placa metálica cuya superficie exterior esta revestida por una capa termo sensible la cual cambia de color con la temperatura, estando dicha placa metálica soldada directamente sobre la pared exterior de la olla.
Este modelo de utilidad tiene una estructura simple y el componente sensible a la temperatura posee una buena conductividad térmica conectado con la superficie exterior de la olla, a su vez la capa termo sensible tiene un buen efecto de sensibilidad a la temperatura, de esa manera la temperatura del recipiente puede ser leída con más precisión por el color de la capa termo sensible que reviste el componente sensible a la temperatura.
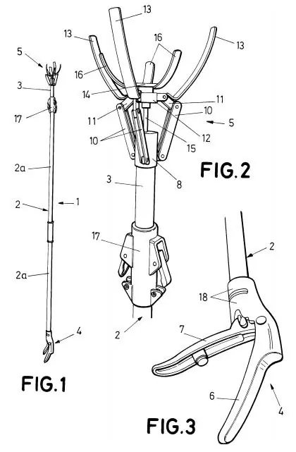
BRAZO EXTENSIBLE PARA RECOGIDA DE FRUTA
Hoy os dejamos un invento muy práctico para la recogida de fruta, cuando no está accesible por estar en ramas altas, o por dificultades de acceso.
Los inventores particulares Luis Brasa Fernández, y Manuel Esteban de Paz Casero han inventado el brazo extensible para la recogida de fruta, que consiste en un utensilio de accionamiento mecánico que facilita la recolección de las piezas de fruta de los árboles donde sea difícil llegar dada su altura. En este caso, se trata de un modelo de utilidad, y no de una patente.

Para ello, está diseñado para que las púas de la garra se cierren sobre la fruta y poder sujetarla sin causar daños y evitando su caída, así como pararealizar un leve giro de la misma que ocasione su desprendimiento de la rama.
El funcionamiento del invento es el siguiente: se acerca el brazo a la fruta, pudiendo este extenderse según convenga, se abren la púas de la garra para recogerla y, una vez que se pone frente a la fruta y la garra se cierra, se realiza un leve giro de las púas de la misma con la pieza de fruta para que, con un leve tirón, sea arrancada del árbol y quede depositada en el interior de la garra (el giro hace que la fruta sea arrancada del árbol).
Dicho giro se dirige desde la empuñadura telescópica que es accionada por la mano por medio de un mecanismo que está en el interior del tubo telescópico, todo ello accionado y manejado con la mano.
El giro efectuado para su recogida, hace que la fruta se arranque sin brusquedad y así no se destroce la pieza.
Al dirigirse y controlarse con la mano, resulta más fácil, rápida y segura la captura de la fruta.
Además, al quedarse púas de la garra cerradas, una vez rodean a la pieza de fruta, se evitan caídas y golpes contra el suelo.
ATAUD CON TAPA REUTILIZABLE
Hoy os presentamos un ataúd muy original. No pretendemos sacar una nueva sección de inventos macabros, es sólo un invento más para un negocio como las funerarias, un invento muy curioso.
Saturnino Valero Arenas es el inventor del ataúd con tapa reutilizable, en este caso se trata de un modelo de utilidad. Este invento consiste en un ataúd, cuyatapa puede ser reutilizada para otros ataúdes, y por tanto, utilizar en régimen de alquiler.

El ataúd está configurado a partir de una caja base con su correspondiente tapa en la que se incorpora el difunto, y que presenta la particularidad de contar conuna segunda cubierta externa, que cubre superior y lateralmente la citada caja base y que está especialmente diseñada y estudiada para servir y utilizarse únicamente durante el periodo de exposición del ataúd: velatorio, funeral, etc.
Pero llegado el momento, no será incinerada o enterrada con la caja base, de forma que dicha cubierta podrá ser reutilizada para otros servicios, permitiendo con ello un importante ahorro económico sin que tenga que disminuir la calidad del ataúd, ya que la caja base, al no mostrarse al público podrá ser de menor calidad y, por tanto, de menor precio.
La cubierta podrá ser alquilada, con lo que se evita la compra de la misma, resultando mucho más económico además de respetuoso con el medio ambiente ya que se reduce el consumo de maderas nobles.
Bueno amigos taringueros! este es el fin del post... espero que les haya gustado, y pronto publicaré la parte 2!
Comenten y recomienden el post a sus seguidores!!