se me ocurrio subir este post por hee visto
que internet se andan dando buelta sobre como obtener señal de internet wifi en este caso por medio de
una usb de internet o receptor de señal wifi
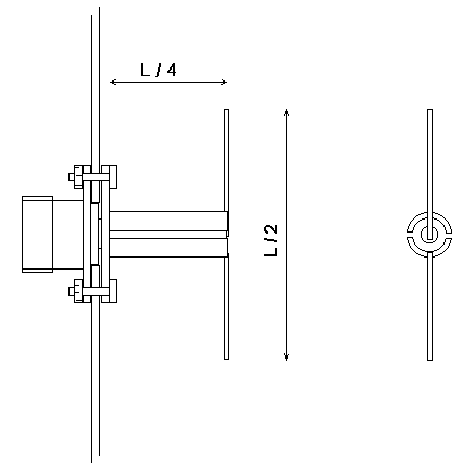
bueno lo que necesitamos es nuestra usb y una base redonda de aluminio o fierro de preferencia aluminio
bueno empesemos
esta es una forma de una antena chica de unos 6 db
esta obtienes unos 8db
para buena suerte de los que viven en chihuahua ai internet en todo chihuahua gratis
con chihuahua digital ya que desde el 2007 puso carlos burruel wifi en la ciudad
yo con ese me conecto
bueno pero esta legalizado contra pornografia y games etc pero
muchas paginas si las abre la gran mayoria bueno espero les sirba de algo
que internet se andan dando buelta sobre como obtener señal de internet wifi en este caso por medio de
una usb de internet o receptor de señal wifi
bueno lo que necesitamos es nuestra usb y una base redonda de aluminio o fierro de preferencia aluminio
bueno empesemos
esta es una forma de una antena chica de unos 6 db
esta obtienes unos 8db
para buena suerte de los que viven en chihuahua ai internet en todo chihuahua gratis
con chihuahua digital ya que desde el 2007 puso carlos burruel wifi en la ciudad
yo con ese me conecto
bueno pero esta legalizado contra pornografia y games etc pero
muchas paginas si las abre la gran mayoria bueno espero les sirba de algo

